Floating Frame
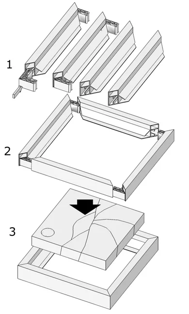
“Now anyone can frame and install a canvas with no tools in minutes. It’s as easy as one, two, three.”
Lightweight and durable, Goframes are easy to handle and hang. The unique patent pending design allows anyone to easily slide a canvas into the frame without the use of fasteners or nails. The integrated spring flap adapts easily to slight variances in canvas size yet gives the appearance of being custom tailored to the exact size of the canvas.
- assembled and installed without tools in under 2 minutes
- self centring to any canvas
- no need to fasten canvas to frame
- can be shipped and stored unassembled requiring up to 70% less volume
- bars are replaceable
- less damage due to shipping
- canvas can be removed easily
- no broken or open mitres
- Squares, portraits and panoramic landscapes of up to 60”
- many configurations possible by combining just a few lengths
- can be used outdoors
- light weight and durable
- 100% recyclable
patent pending
